找回密码
 立即注册
澳门威尼斯人
U8
U18
海燕招商
A
蓝盾
e世博
islot.
申博亚洲
B
开云
腾博会
德信
C级广告商
吉祥坊
华体会
查看: 25948|回复: 74

[彩票] 【实战有奖】威尼斯人台湾宾果连挂后稳收,亏损2450止步

[复制链接]

82

主题

1万

回帖

4718

金币

千足金牌会员

积分
65841

老会员交易勋章魅力达人

发表于 2025-10-6 16:17 | 显示全部楼层 |阅读模式

马上注册,结交更多好友,享用更多功能,让你轻松玩转社区。

您需要 登录 才可以下载或查看,没有账号?立即注册

×
今天下午打了台湾宾果这一轮,整体过程挺曲折,但也算控制住了节奏。大概从下午三点左右开始进场,当时看走势总和“双”连开几期,手痒了,于是轻仓试单。原本打算随便玩玩,结果越看越不对劲,单双频繁切换,让人有点摸不清节奏。
& I) `1 |; H; a6 w
0 c" V) ?' B7 T# j& h这轮总共下了六单,前几把基本都在试探走势。结果连续几期都反着来,尤其是那笔3050的“总双”,被直接吃掉,账面一口气红到三千多。那一瞬间心态确实有点晃,手差点又去补仓。后来想到之前吃亏的经验,强行让自己停手,看完那期结果就去洗了个脸。
2 {" ?$ q7 Z) u4 S! l  [! ~) V
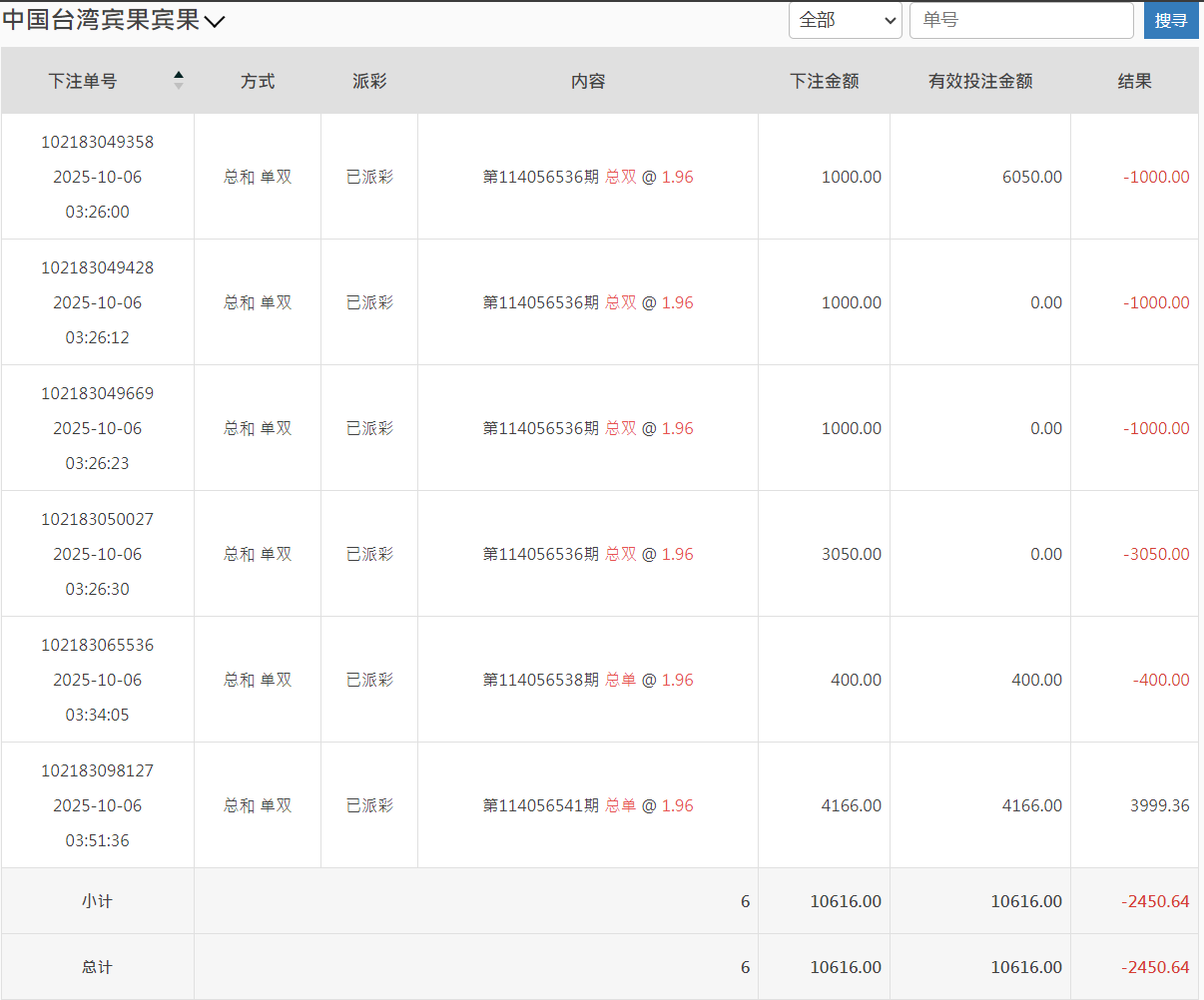
  @6 O- t; [& [5 T) i回来后重新看走势图,发现节奏有点回稳,于是再上两把“总单”试水。最后一单我加到4166,打的第114056541期,终于中回来了3999.36,这口气算是稳了。整盘下来,亏了2450左右,折合人民币不到两千。
% o9 w  |! s7 J; |6 S; T
* z: x" I4 v: u. r0 N账面上虽然是负的,但我个人觉得这轮打得比前几次更“成熟”——不是赢多少的问题,而是我终于没再乱追。这次BBIN那边转入了10616,转出回大厅时剩8165,虽然账面亏损,但过程有节制、心态稳,算是一次小考合格。
& L- y5 n- G8 N+ A+ D1 X0 a0 o5 ]' W7 \, c: O% @
过去我常常一看挂单就想加码“赢回来”,结果反而输更惨。现在我学会了一件事:赢钱靠机会,止损靠自律。只要不被情绪带走,长期来看反而能少损多赢。
4 h: G+ M8 P: S1 W6 N
' g& B6 N& @  ]) \& j4 T另外,这轮台湾宾果的走势挺诡异的,总和单双跳得快,没有出现连续7期以上的连号。下午那段时间尤其乱,建议后面玩这盘口的兄弟们注意节奏,不要被短线结果误导。可以像我这样——前几期用小注探路,等走势方向稳定后再加码。
' {7 [; s) A6 _, I3 b" d  {& ]+ M' h" R, U. b8 G- }+ E% d
这次我还特地看了下注明细,总金额10616,有效投注全打满,亏损-2450.64。虽然是红的,但我反而挺高兴,因为这说明我守住了底线:没追加、没爆仓。
3 h0 z1 Q. y2 V9 b3 O( o% ?
/ r& O9 ]* ^/ Z& u4 g2 S最后总结一句:
0 ]3 K2 g0 K8 }( H/ _输钱不可怕,乱输才可怕;稳得住,才是真正的赢。. N( U8 |9 c0 d0 D

) n# N* w( M8 h1 {. t5 u3 V% c这两天论坛不少人也在分享台湾盘的节奏,我的经验是——宁可打慢,也不要乱节奏。未来几天我会继续观察走势,等连号或规律性区间出来,再考虑加仓。今天就到这,休息一会,晚上再看情况。
: }% w: {7 r7 j6 z! f8 h. F# t2 I; ^# G& M  \# j. T% g' _+ X6 ]7 y) y
QQ20251006-160203.png QQ20251006-160102.png 4 z$ H# H( ~  a5 \: b
1 j( n* ~# |+ b7 K! Q

) d- V; [# o4 P  b+ E' @( A
回复

使用道具 举报

1

主题

4994

回帖

4198

金币

金牌会员

积分
23389

老会员

发表于 2025-10-6 16:22 | 显示全部楼层
楼主亏损了还是要止损,回血了一大半还是挺不错了
回复 支持 反对

使用道具 举报

197

主题

6859

回帖

148

金币

银牌会员

积分
13995

老会员交易勋章

发表于 2025-10-6 17:56 | 显示全部楼层
你还玩这个啊,我是真没玩过这类彩票,是彩票没错吧,止损做到位就好
回复 支持 反对

使用道具 举报

7

主题

1万

回帖

9475

金币

千足金牌会员

积分
68623

光影行者

发表于 2025-10-6 19:37 | 显示全部楼层
3050那把真够呛,能忍住不补仓已经赢一半,节奏乱时洗脸是个好招
回复 支持 反对

使用道具 举报

3382

主题

4万

回帖

6827

金币

钻石用户

积分
122024

万时之王老会员勤奋勋章交易勋章

发表于 2025-10-6 19:48 | 显示全部楼层
老哥还是低调点吧, 亏损2450, 也是输太多了, 还是要及时收手,真不敢继续了
回复 支持 反对

使用道具 举报

3382

主题

4万

回帖

6827

金币

钻石用户

积分
122024

万时之王老会员勤奋勋章交易勋章

发表于 2025-10-6 19:49 | 显示全部楼层
蔬菜沙拉 发表于 2025-10-6 19:37
+ K' S' k; g+ L% _0 H3050那把真够呛,能忍住不补仓已经赢一半,节奏乱时洗脸是个好招
3 Q; t. X# {! _3 ^- b3 ^& k
玩菠菜还是量力而行吧, 别玩太大了, 输太多了, 也是很影响心情了。
回复 支持 反对

使用道具 举报

3382

主题

4万

回帖

6827

金币

钻石用户

积分
122024

万时之王老会员勤奋勋章交易勋章

发表于 2025-10-6 19:49 | 显示全部楼层
二电厂哥 发表于 2025-10-6 17:569 X7 a0 e6 x0 g- G$ M
你还玩这个啊,我是真没玩过这类彩票,是彩票没错吧,止损做到位就好
$ r9 b: U) K' p3 z  T# o
亏损了2450也是输太多了, 这钱能干很多事的了啊, 也是很遗憾了。
回复 支持 反对

使用道具 举报

3382

主题

4万

回帖

6827

金币

钻石用户

积分
122024

万时之王老会员勤奋勋章交易勋章

发表于 2025-10-6 19:50 | 显示全部楼层
shunlifeiup 发表于 2025-10-6 16:22
6 f( g- P3 t! ^# w1 g- G. v2 u+ K楼主亏损了还是要止损,回血了一大半还是挺不错了

$ v! u+ m+ J/ p) y0 Y0 d$ L9 X- X" G" [损失惨重了呀, 输了这么多, 想回血都是很困难了啊, 还是休息冷静一下吧。
回复 支持 反对

使用道具 举报

357

主题

1550

回帖

5718

金币

银牌会员

积分
15518

老会员交易勋章

发表于 2025-10-6 21:07 | 显示全部楼层
能够及时做到止损啊 还是很不容易的   及时调整吧!
回复 支持 反对

使用道具 举报

51

主题

2万

回帖

3106

金币

千足金牌会员

积分
65360

老会员光影行者

发表于 2025-10-7 02:34 | 显示全部楼层
别急着追,理性把握,稳住节奏,总会有赚钱的时候,节制至关重要
回复 支持 反对

使用道具 举报

51

主题

2万

回帖

3106

金币

千足金牌会员

积分
65360

老会员光影行者

发表于 2025-10-7 02:34 | 显示全部楼层
蔬菜沙拉 发表于 2025-10-6 19:376 }& P4 B2 Z/ r( n- U# a4 \
3050那把真够呛,能忍住不补仓已经赢一半,节奏乱时洗脸是个好招
) q- A) ^' N& G; w0 n3 c. S
3050那把确实有点狼狈,不过威尼斯人台湾宾果稳住节奏,亏损2450也算是及时止损
回复 支持 反对

使用道具 举报

2344

主题

7万

回帖

5778

金币

海燕硕士

积分
217050

老会员超级精华精华勋章美女勋章勤奋勋章交易勋章万时之王

发表于 2025-10-7 05:46 | 显示全部楼层
输掉了2000多块能够止损离开也是比较理智的一个人吧
回复 支持 反对

使用道具 举报

2344

主题

7万

回帖

5778

金币

海燕硕士

积分
217050

老会员超级精华精华勋章美女勋章勤奋勋章交易勋章万时之王

发表于 2025-10-7 05:46 | 显示全部楼层
whywhy 发表于 2025-10-7 02:34" ^1 C" C3 V" O" }' \+ C& E
3050那把确实有点狼狈,不过威尼斯人台湾宾果稳住节奏,亏损2450也算是及时止损 ...
& T' _" O# Q/ ?( K, w' Q: ?' R
反正自己的节奏要把握好,不然输的就是自己的钱
回复 支持 反对

使用道具 举报

2344

主题

7万

回帖

5778

金币

海燕硕士

积分
217050

老会员超级精华精华勋章美女勋章勤奋勋章交易勋章万时之王

发表于 2025-10-7 05:46 | 显示全部楼层
whywhy 发表于 2025-10-7 02:34
+ [( E5 B3 a8 r5 d别急着追,理性把握,稳住节奏,总会有赚钱的时候,节制至关重要
2 ~: P4 L2 Y- k6 h3 s# u! ^
这个节奏导致的亏损也是没有办法的事,毕竟输了这么多
回复 支持 反对

使用道具 举报

2344

主题

7万

回帖

5778

金币

海燕硕士

积分
217050

老会员超级精华精华勋章美女勋章勤奋勋章交易勋章万时之王

发表于 2025-10-7 05:46 | 显示全部楼层
莫扎特06 发表于 2025-10-6 19:49
, j* }' r0 ~% O3 }; Z. a亏损了2450也是输太多了, 这钱能干很多事的了啊, 也是很遗憾了。
: @4 I& W+ ]8 c% M
输的太多也是要想办法把它搞回来,不然也是难受
回复 支持 反对

使用道具 举报

您需要登录后才可以回帖 登录 | 立即注册

本版积分规则

广告合作|评测有奖|福利汇|论坛简介|钱包合集|手机版|小黑屋|Archiver|海燕论坛

快速回复 返回顶部 返回列表